Η Apple, ενώ προσφέρει ένα βαθμό αδιαβροχοποίησης στα iPhones της, ποτέ δεν τα διαφημίζει ως πλήρως αδιάβροχα. Φαίνεται όμως πως υπάρχουν εξελίξεις στον τομέα αυτό, σύμφωνα με μία νέα πατέντα που κατέθεσε. Συγκεκριμένα, αναφέρεται στο πώς τα φυσικά πλήκτρα που πατιούνται, μπορούν να γίνουν σημεία εισόδου του νερού και έτσι εισάγει ένα νέο design που λύνει αυτό το πρόβλημα.
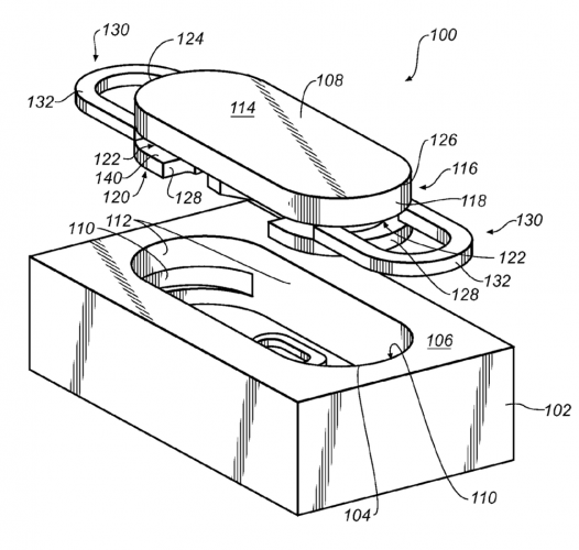
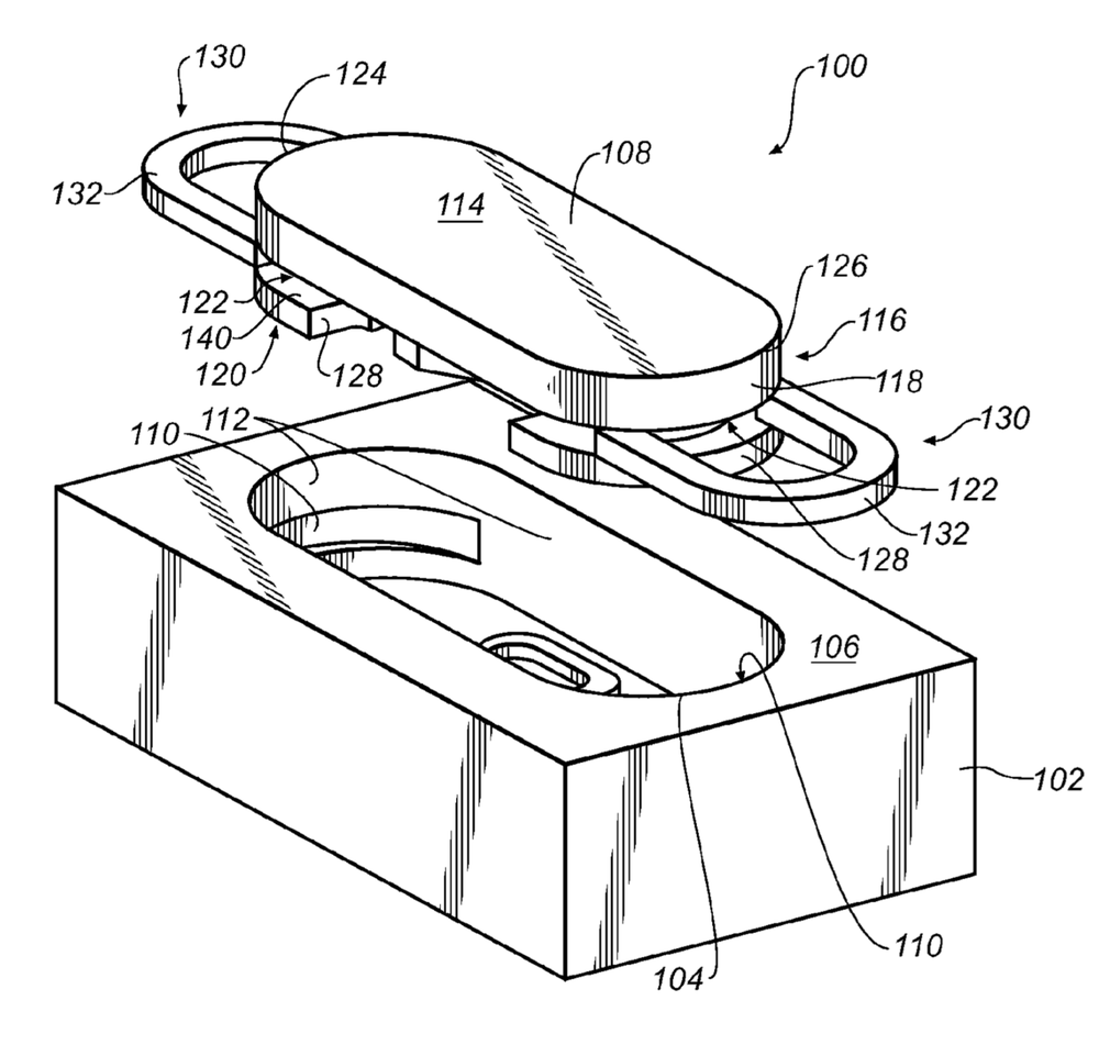
Η κατασκευή του αδιάβροχου πλήκτρου μπορεί να αποτελείται από ένα περίβλημα που περιλαμβάνει ένα άνοιγμα και ένα κουμπί. Το κουμπί μπορεί να τοποθετηθεί τουλάχιστον εν μέρει εντός του περιβλήματος μέσω του ανοίγματος. Η κατασκευή μπορεί επίσης να περιλαμβάνει μία πλειάδα εξαρτημάτων εμπλοκής τοποθετημένα στα αντίθετα άκρα του κουμπιού. Το πλήθος των εξαρτημάτων εμπλοκής μπορεί να διαμορφωθεί έτσι ώστε να συγκρατεί το κουμπί εντός του περιβλήματος.
Έτσι η Apple σκοπεύει να αποφύγει τα παραδοσιακά πλήκτρα τα οποία αποτρέπουν την πλήρη σφράγιση μέσα στο μηχανισμό του κουμπιού και ως αποτέλεσμα προσφέρουν μείωση των πιθανοτήτων να εισέλθει νερό και όχι ολοκληρωτική αποφυγή της ζημιάς.


